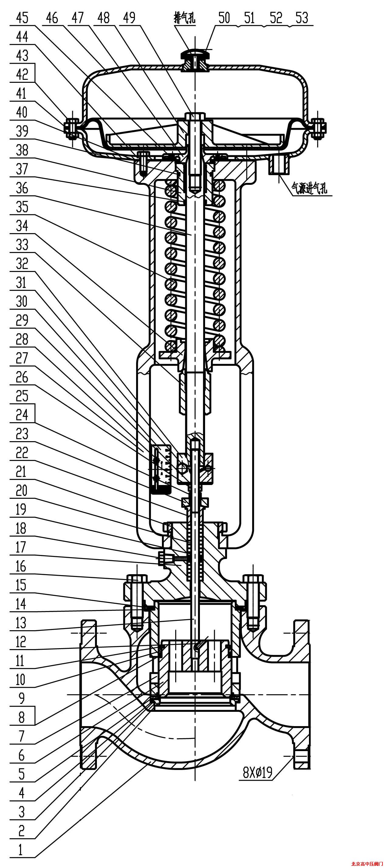
一、概況
該產品是為武漢鋼鐵公司軋鋼機輸送煤氣,緊急切斷介質而設計的。產品一直從國外公司進口,閥門價錢昂貴。為給國家節省外匯,武漢鋼鐵公司決定決定以國代進,產品國產化,委托北京高中壓閥門有限責任公司設計、生產、研制。經過技術人員共同努力,成功研制出緊急切斷閥。
二、結構特點
1、閥門依靠氣源壓力來實現閥門開啟,彈簧反作用力將閥門關閉。
2、閥瓣與閥座采用雙重密封結構,即金屬對金屬,金屬對軟密封增加了密封性能(結構簡圖如圖1所示)。
3、閥套與閥瓣的密封:閥套內徑與閥瓣外徑采用加工精度較高的公差配合,與普通的活塞密封結構有所不同,單純的O形密封圈在往復多次的情況下會失去密封性能,但是此種緊急切斷閥采用支承圈撐密封尼龍1010復合式結構良好的保證了密封性能,在復合結構上用精度較高的鋼圈壓住并與閥套及閥瓣配合,在閥瓣止口處采用彈簧卡圈定位。結構簡圖如圖2所示。
圖1 閥瓣與閥座的密封結構簡圖 圖2 閥套與閥瓣的密封結構簡圖
4、填料密封:采用橡膠石棉盤根雙層密封結構,填料層數的增加使摩擦力增加從而密封性能更好。在填料函中部放隔環方便在運行一段時間注脂加強閥桿和填料的潤滑,起到良好的密封保護作用。
5、閥門的開啟指示結構:閥門的關閉狀態是指示盤的上表面對準刻
度牌的0點,隨著閥門的開啟,刻度盤隨之上升。對著指示盤的上平面看刻度牌即可清楚明了的知道閥門的開啟關閉位置。 |