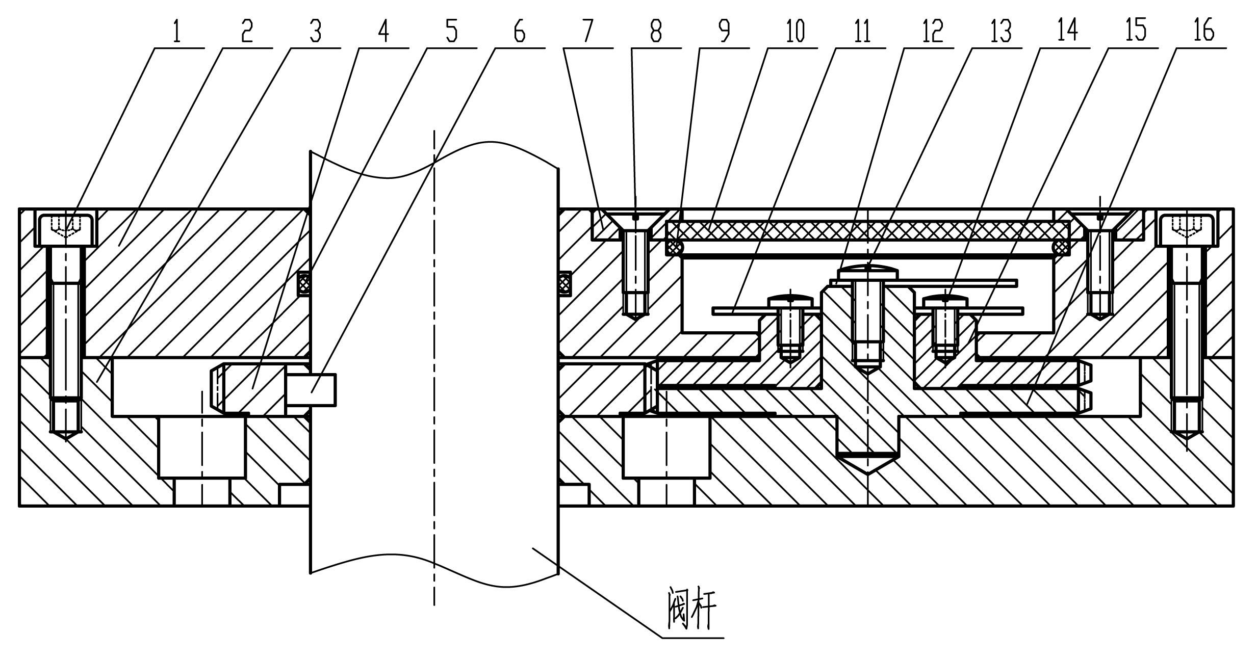
一、概況:
我公司常年生產暗桿平板閘閥,暗桿平板閘閥工作原理:轉動手輪,閥桿在閥體內旋轉,閥桿不上升,閥門工作顯示不出閥門關閉還是開啟的位置。過去沿用的指示器(九套齒輪)體積大,給生產、制造、成本帶來很多麻煩,根據齒輪一齒差原理,研制出只需三個齒輪傳動的指示器。
二、結構特點:
主動齒輪通過銷與閥桿連接,指示牌用螺栓固定在副輪上,指針也用螺栓固定在被動齒輪上。主動齒輪和副輪的齒數相同,但被動齒輪齒數比主動齒輪和副輪多一齒。當閥門工作時轉動手輪,閥桿旋轉,帶動主動齒輪旋轉,主動齒輪帶動被動齒輪,副輪旋轉同時,由于被動齒輪比主動齒輪多一齒,旋轉時兩齒輪轉的圈數不同,通過計算出閥門開啟行程及通過指示牌指針指向閥門開啟、關閉的位置。
1、一齒差指示器結構緊湊,體積小,重量輕,總高度48mm;
2、可以套用在傘齒輪(BA裝置上);
3、指示器上的指示牌準確無誤指向閥的開啟、關閉的位置。
4、整套指示器只需三個齒輪就能完成發的開啟關閉指示。
5、該暗桿閥門一齒差指示器應用在暗桿平板閘閥上安全、可靠、實用,能直接觀察到閥的開啟和關閉,非常直觀。 |