一、概況:
撐開式平板閘閥是為油田鉆井采油,閥門樹配套用閥而設計研制。油田井口每臺鉆井都需要配套防噴管匯、節流管匯,二管匯設備在油田鉆井缺一不可。油田進口一臺平板閥需要八萬人民幣,為了給國家節省外匯,公司決定進行設計研制。設計采用井控裝置、API6A標準,結構參照美國W-K-M公司結構進行設計。
二、結構特點:
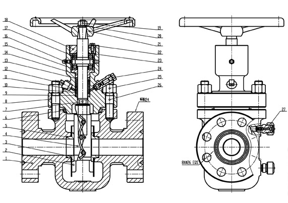
1.閥門采用暗桿結構、轉動手輪、閥門開啟關閉。閥桿只旋轉不上。閥門結構緊湊。
2.中法蘭采用八角形金屬墊片密封。
3.關閉件分為左閘板、右閘板,兩塊閘板分別加工成144°兩側用彈簧攏在一起形成長方形平板閘板,閥桿與閘板用螺紋連接。
4.填料部分設有注脂密封裝置,防止填料泄漏。
5.手輪順時針旋轉,閥桿梯形螺紋推動閘板向下移動。右閘板端部頂到閥體底部凸臺,左閘板、右閘板沿144°斜滑面相互向左、右撐開貼緊閥座、密封圈,閥門關閉,形成閥門進口出口雙向密封。逆時針旋轉時,閥梯梯形螺紋帶動玄力閘板向上移動,同時閘板兩側彈簧合力,將閘板撐開間隙收攏,閘板與閥座密封圈相互無摩擦,閘板導流孔對準閥體通道,閥門則開啟,閥門使用壽命長。 |